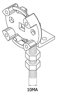
FAAC 132315 ADJUSTABLE STAND
- MT Code
- FAA_132315
- Manufacturer Code
- 132315
- Brand
- FAAC
Description
ADJUSTABLE STAND
Max. adjustable standard support
20 Nm
Data Sheet
| Codice a barre | 8055195006087 |
|---|---|
| Codice Produttore | 132315 |
| Brand | FAAC |
Need Help?
Add to Cart also
{% for product in products %}
{% endfor %}
You might be interested in
Recently viewed